
MODEL BGUS/BGUS-D • SG/SG-D OPERATOR INSTALLATION GUIDE
-6-
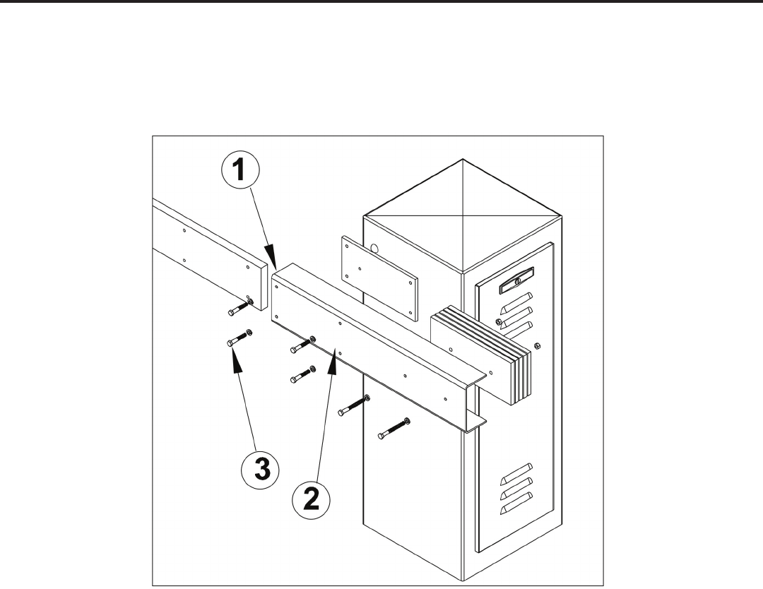
BARRIER GATE ARM INSTALLATION FOR MODEL BGUS/BGUS-D
1. Make sure the barrier gate is in the full closed
position
2. With someone’s assistance, lift the arm (#2) up to a
height even with the barrier gate fl ange.
3. Using the hardware (#3) provided, attach the arm to
the fl ange and attachment channel (#1). Tighten all
bolts fi rmly.
Kommentare zu diesen Handbüchern